_M 255-25 with professional set
Artikelnummer: 11445410 / EAN: 7611034210155-NIET MEER VERKRIJGBAAR- Trekken ipv dragen! Duurzame sproeier op twee wielen, luchtgekoelde 2-taktmoter (0.7 kW/0.9pk/7000 o/min), carburator met gesloten membraan, elektronische ontsteking en pomp met dubbele zuiger. Omwille van het hoge debiet en de hoge werkdruk ideaal geschikt voor sproeirevolvers zoals de Gun Media voor bomen en hagen.
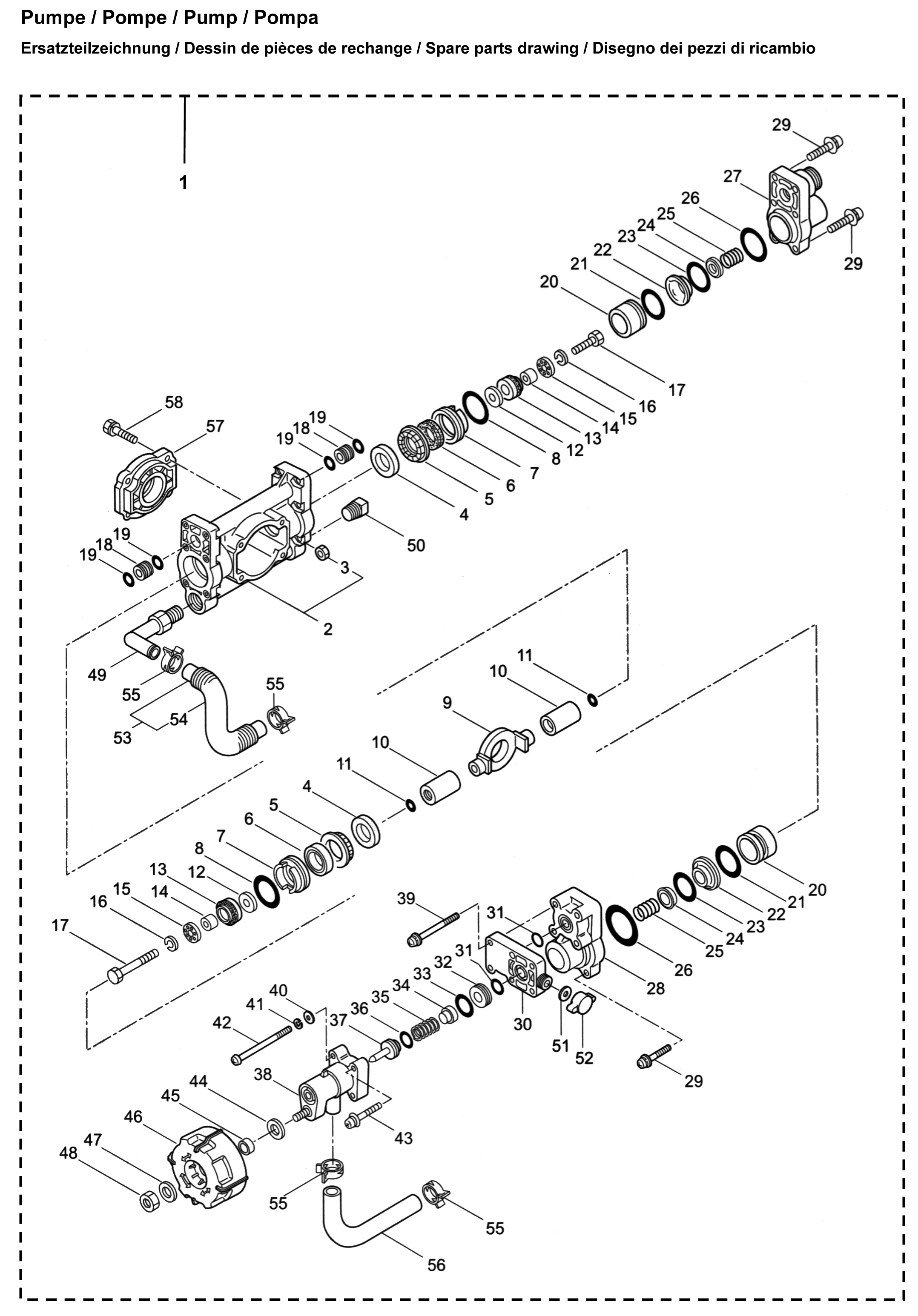
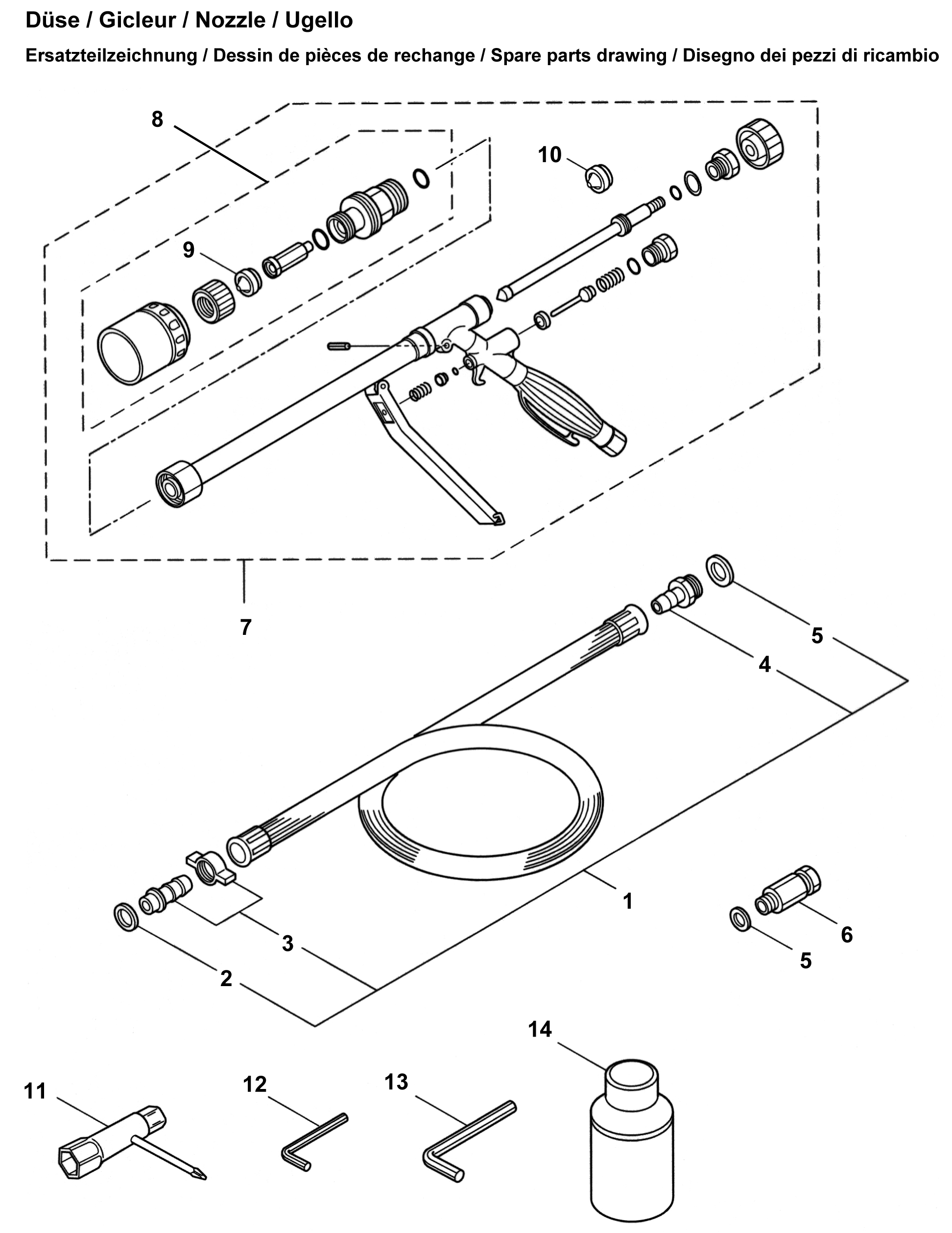
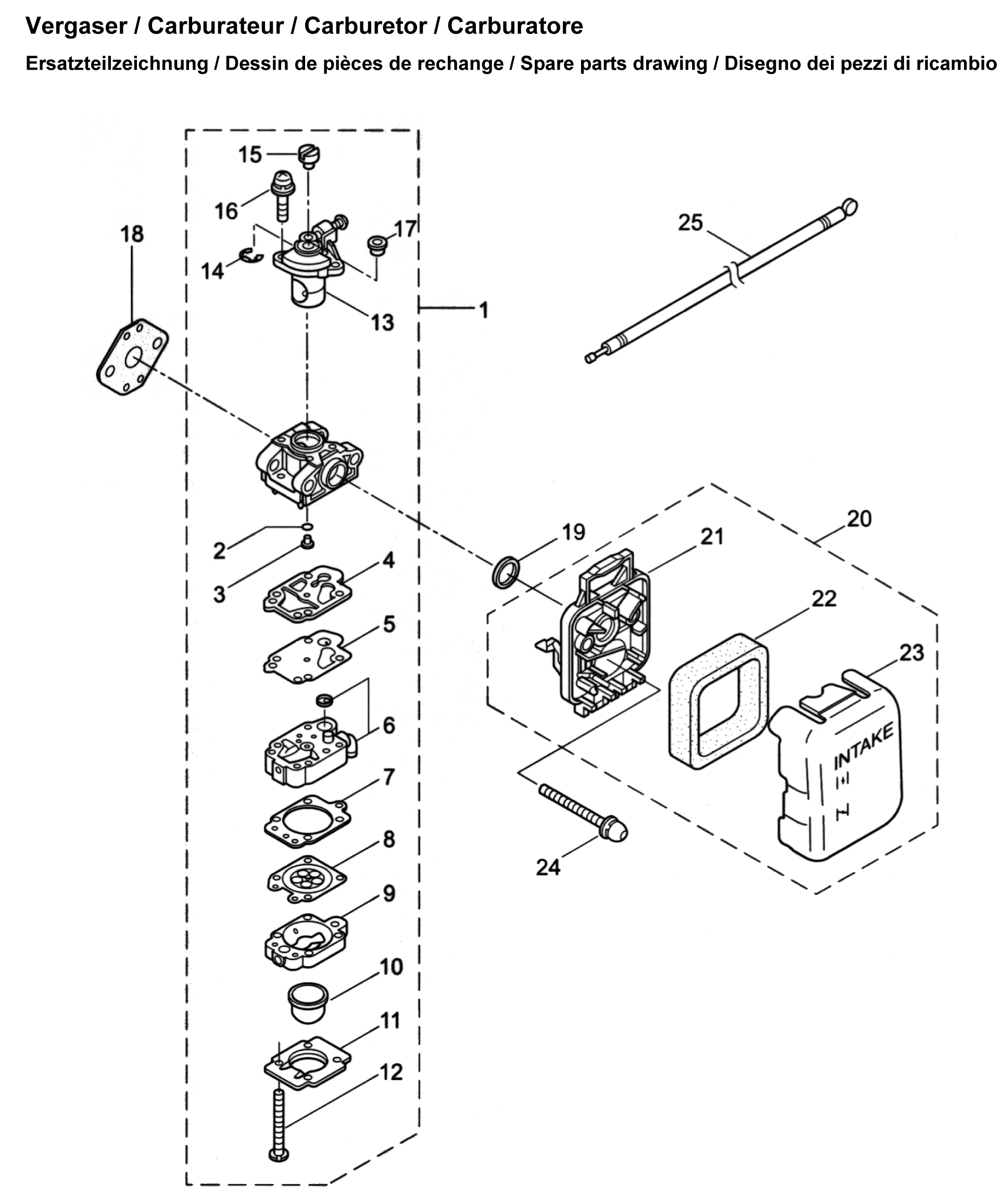
Van dit product zijn alleen nog de accessoires en onderdelen verkrijgbaar.
Lees meer
Selecteer Land





































